作者简介: 张超(1983—), 男(汉), 河北, 博士后。
工业生产中的高温作业以及应急救援中的消防灭火等,对高温环境中的人体安全防护研究提出了需求。该文建立了将热生理反应理论计算与人体模拟实验相结合的高温环境人体安全评价方法。应用高温实验舱和红外热辐射板建立高温实验环境,应用理论模型实时计算出与热环境相对应的所需出汗率和体温的变化,应用NEWTON暖体假人模拟人体被动升温、显性出汗的交互过程。在热辐射温度为30~40 ℃的热环境中,研究人体体温、出汗率的变化,并从体温过高、出汗脱水两个角度判断人体所处的安全状态。结果表明,该方法能够模拟人体在高温环境下的热生理响应,并对人体安全情况作出评价。
Human safety protection in hot environments is required in many fields, such as high-temperature industrial operations and fire fighting. This paper presents a method to estimate human safety in hot environments. The method combines the bio-heat theoretical model and experimental simulations. The hot experimental environment uses a high-temperature cabin heated by an infrared thermal radiation board. The body temperature and required perspiration rate are calculated by the theoretical model for the real-time experimental parameters. The balance between the warming and the sensible heat released by perspiration is simulated using a NEWTON thermal manikin. The bio-heat response of the body temperature and the perspiration rate due to the heating is studied for 30-40oC thermal environments. The human safety is estimated for both hyperthermia and dehydration. The results show that this method can accurately simulate the human thermal physiological response and estimate the human safety status in hot environments.
高温环境常见于工业生产中的热处理作业和应急救援中的消防灭火等场景中。高温环境中的人体安全防护是公共安全研究的重要内容,需要将“人体-服装-环境”作为一个热系统来考虑。这一系统涉及环境与服装间的热辐射、服装内部的热传导、服装与人体间的热对流和热辐射等多个物理过程。
高温环境下的人体安全研究方法,主要包括热反应建模计算和真人或人体模拟实验研究两种: 1) 热反应建模计算方法依据热物理原理,建立“人体-服装-环境”三者的热反应计算模型,通过数值迭代计算得到人体的热生理参数[1]。1971年提出的Stolwijk模型应用负反馈的控制理论建立了6区段25单元的人体热反应模型,被认为是人体热反应模型的一次突破[2]。Huizenga等建立了常温复杂热环境下人体生理和舒适性评价的Berkeley模型,对Stolwijk热反应模型作出了7个方面的改进,提高了模拟计算的准确性[3]。Tanabe等基于多点热调节和辐射模型以及计算流体力学,建立服装热舒适性评价方法,并考虑温度非一致性的环境[4]。韩雪峰等建立了一个基于20分区发汗暖体假人设备的多分区多层传热数值模型,通过实验等方式确定各分区的各项热物理参数,建立热平衡方程组,实现对假人在给定热应力下的温度变化,以及与服装的热交换作用的模拟[5]。热反应建模计算方法能够模拟人体在热环境中的体温、出汗、呼吸、心率等的变化,同时具有耗时短、成本低的优点。此类方法虽取得较大进展,但仍有所局限: 考虑人体-环境相互影响的精细复杂细节不足,如空气湍流、局部空气扰动、温度和湿度、周围表面的不均匀温度辐射、多层服装系统的热和物质交换、人体的各种生理调节行为导致的蒸发、液化、湿气迁移,以及人体运动对热反应的影响等[6]。2) 真人或人体模拟实验研究方法。真人研究难以在较极端的条件下进行,并且需要大量的真人研究才能总结出人体的热反应规律,提高了真人实验研究的成本; 人体模拟实验研究将具有体热、出汗等功能的假人作为核心设备,模拟人体的热生理反应[7]。Psikuta等在常温范围内对具有体热、出汗等生理调节的假人进行实验与建模研究,但仅研究了单段人体模型,并非全身[6]。Coca等以暖体假人为研究工具,考察了消防员的运动行为对防护服性能的影响[8]。谌玉红等以中等热湿环境下人体实验和人体3维尺寸数据为基础,研制出了出汗假人测试系统并对服装的热湿性能进行了测试与评价[9]。受技术所限,大部分的人体模拟设备不能根据环境的热应力对体温、出汗等作出主动、实时调节[10], 或者仅为部分而非全身人体模型。但由于人体模拟实验研究具有设备稳定、实验结果可重复性高、依实验评定服装性能准确等优点,己成为高温环境下的人体安全评价研究的热点方法。
本文针对高温环境下的人体安全问题,建立了将理论计算与实验模拟相结合的人体安全评价方法。将暖体假人置于封闭的高温环境实验舱内,实时测量人体周围的环境参量,应用热反应模型计算得到该环境参量下的人体热生理反应,通过暖体假人的体热、出汗等功能实现该时间的生理反应,进而实现人体与环境的热反应交互过程。此外,通过观测实验过程中人体热生理参数的变化,依据医学生理学的研究结果,判断人体的安全状态。
实验平台包括人-机-环境模拟子系统、参数测量子系统和数据采集/传输/处理子系统3部分。人-机-环境模拟子系统通过高温舱和热辐射板制造特定热应力环境,应用NEWTON暖体假人模拟人体的热生理响应行为,并为假人穿着热防护服,进而形成人-机-环境的热反应系统。由参数测量子系统测量环境的温、湿度等基本参量和假人的热生理参数。数据采集/传输/处理子系统由数据采集仪、假人控制软件ThermDAC和人体热反应计算模型组成,接收参数测量系统的实时测量结果,计算假人的热生理响应行为,并将相应指令传输至NEWTON暖体假人,作为暖体假人对人体热生理响应模拟的依据。实验平台的整体结构和逻辑关系如图1所示。
暖体假人是人体生理行为的模拟设备,多应用于服装舒适性研究。本实验基于美国西北公司生产的NEWTON暖体假人,以热生理模拟计算的热响应结果为指令,模拟人体在热环境中的体热、出汗等生理反应。NEWTON暖体假人包括假人及皮肤层、外部系统、环境传感器和控制软件等部分。其中,假人及皮肤层是模拟人体的外部结构,并在皮肤层下内置体内控制器及毛细管,作为模拟人体体热、出汗的微观作用单元; 外部系统由与体热、出汗等生理对应的外置控制箱组成,发挥与人体生理功能对应的脏器的作用。NEWTON暖体假人的整体结构和功能关系如图2所示。
热环境下人体安全研究实验的主要思路为: 将暖体假人和热辐射板置于封闭的热环境实验舱内,通过热辐射板制造特定的热环境,由暖体假人参数测量系统和环境参数测量系统获取相关参数,经数据处理系统计算得到该热应力下假人的热生理反应,传输至暖体假人使其产生相应的体热、出汗等响应。通过实时测得的假人生理参数,以体温、出汗率两项指标为判据,判断人体的安全状态。为方便对安全评价方法的研究,实验中未对假人着热防护服装,而仅穿着发汗皮肤,以发汗皮肤的热阻、湿阻参数代替热防护服装的热、湿性能参数。
实验的主要流程为: 1) 开启热辐射板,舱内温度升高; 2) 人体随环境温度升高而累积热量,体温升高; 3) 热量累积到一定程度,开启出汗功能,通过汗液蒸发散热; 4) 通过体温和出汗相关参数,判断人体安全状态,相关参数大于安全阈值则进入危险状态,大于极限阈值则进入极限状态,否则处于安全状态。实验主要流程如图3所示。
在数据采集/传输/处理系统中,嵌入人体热生理反应计算模型,以实时测得的环境和人体热湿参量作为输入,迭代计算得出人体的热生理反应。计算模型采用ISO 7933中推荐的模型,主要计算公式为[11]:
1) 计算皮肤表面最大蒸发热流量 Emax(W/m2)所需蒸发热流量 Ereq(W/m2):
其中: psk与 pa分别为皮肤表面温度和环境温度对应的饱和蒸气压, kPa; Rcl为皮肤层及服装的湿阻, m2kPa/W; M为指定劳动强度下的新陈代谢率, W/m2; deq为与新陈代谢率相关的使体温上升的存储率, W/m2; W为人体的对外做功率, W/m2; Cres和 Rres分别为呼吸产生的热对流率和热蒸发率, W/m2; C和 R分别为皮肤表面的热对流率和热蒸发率, W /m2。以上参量中: psk、 pa、 Rcl根据实测值得出; M、 W根据实际情况设置; 其他参数为:
其中: i为第 i个时间步长,每个时间步长为1 min; csp为人体热容, W/(m2·K); Tcr, eq, i为与新陈代谢率相对应的平衡时的人体核心温度, ℃; αi为皮肤 -核心质量参数; Tex、 Ta、 Tsk分别为呼出气体温度、环境温度和皮肤温度, ℃。
2) 计算预期出汗率 si(W/m2),
其中, sreq为所需出汗率, W/m2, 其值由 Ereq和 Emax的决定。
3) 计算直肠温度
其中,
(9)
在医学生理学中,常用人体的直肠温度代替核心温度[12]。由此,可通过设置人体参量,测量环境参量,计算出人体在该热环境下所需出汗率和直肠温度。
人体热舒适时的皮肤温度 Tsk =34 ℃[12], 将这一数值设置为人体皮肤温度初始值。分别将热辐射板的温度 Trad设置为30 ℃、 32 ℃、 34 ℃、 36 ℃、 38 ℃、 40 ℃, 考察实验4 h内的人体热生理变化,通过体温、出汗两项生理指标判断人体的安全状态。
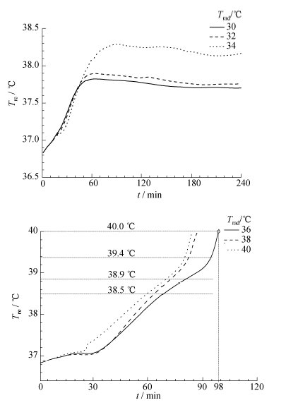
直肠温度 Tre在实验过程中的变化如图4所示。
1) 热辐射温度 Trad越高, Tre的升高越快。
2) 当 Trad为30 ℃和32 ℃时, Tre先升高后降低,最后达到一较稳定值,说明人体能够适应此热辐射的环境; 当 Trad =34 ℃时, Tre最后仍有波动,说明此热辐射温度为人体对热环境适应的临界情况,这与 Tsk稳定值为34 ℃相符; 当 Trad为36 ℃、 38 ℃、 40 ℃时, Tre先较快增长,直至趋近于 ISO 7933模型的有效计算临界值 Tre =40 ℃(对应时间 t1=98 min), 此时人体的热响应规律已无法用ISO 7933模型进行计算。
3) 当 Tre达到危险值时,人体进入相应的危险状态。直肠温度的危险限值为生理上限38 .5 ℃, 安全上限38 .9 ℃, 耐受上限39 .4 ℃[13]。由此判断的危险时间如表1所示。
| 表1 不同热辐射温度下由 Tre判断的人体危险时间 |
由表1可见,当热环境强度超过人体的调节能力时,热辐射温度越高,人体处于热危险状态的时间越早。
分析出汗率 s在实验过程中的变化规律,判断人体安全状态,如图5所示。
1) Trad越高, s的增长越快;
2) 当 Trad为30 ℃和32 ℃时, s先增大后减小,最后达到一较稳定值,说明人体能够适应此热辐射环境; 当 Trad =34 ℃时, s最后仍有波动,说明此热辐射温度为人体对热环境适应的临界情况; 当 Trad为36 ℃、 38 ℃、 40 ℃时, s先较快增长,后稳定到一极限值。对照 Tre曲线可以发现, Tre =40 ℃, 即实验时间 tl =108 min时,人体的热响应规律已无法用ISO 7933模型进行计算,此时 sl =375 mL/(m2·h), 也为计算得到的出汗率的极限值。
3) 当 s大于体重的0 .01%时(246 .33 mL/(m2·h)), 人体处于由出汗率判断的危险状态[13]。由此判断的各热辐射温度对应的危险时间如表2所示。
| 表2 不同热辐射温度下由 s判断的的危险时间 |
当人体能够适应热辐射环境时,危险时间随热辐射温度的升高逐渐缩短; 当人体不能适应热辐射环境时,危险时间基本相同。这说明当热环境的强度超过人体的调节能力时,人体的出汗率具有对应的极限值,出汗率围绕该极限值进行变化。
4) 人体总失水量存在极限值。当总失水量Σ s超过该极限值时,人体处于失水的危险状态。当Σ s达到体重的2%(1.4 kg)时,进入危险状态; 当Σ s达到体重的5%(3.5 kg)时,进入热危害状态[14]。不同热辐射温度下危险状态的时间刻如表3所示。
| 表3 由Σ s判断的不同热辐射温度下的危险时间 |
针对单一理论计算或实验模拟在研究高温环境下人体安全问题时的局限性,本文应用出汗暖体假人为核心设备,建立了将理论计算与实验模拟相结合的人体热安全评价模型。该模型能够对热环境作出实时反应,通过体温和出汗率的变化判断人体的热安全状态,从而实现对高温环境下的人体安全防护的辅助决策功能。
该安全评价方法还存在一定不足,主要有: 1) 体表温度值由20个躯段的体表温度按对应的体表面积加权得出,出汗量根据加权后的体表温度进行调整。更精确地,应将各躯段区别对待,即根据各躯段的表面温度分别计算并调整出汗率。2) 实验在封闭的热环境实验舱进行,实验过程中舱内的温度、湿度一直变化,由于这种变化与暖体假人实时的发热率、出汗率直接相关,使得实验结果很难与无法考虑假人主动热响应调节的理论模型计算结果进行对
比。下一步应在恒温恒湿环境箱中进行该实验,并将实验结果与理论模型计算结果进行对比,进而对安全评价方法作出改进。3) 本实验中,为简化方法研究,对暖体假人未着热防护服,仅用附着于假人外层的发汗皮肤的热阻、湿阻值代替防护服装的热湿性能。显然,发汗皮肤的热湿阻值远小于热防护服装的相应参数。下一步应进行穿着防护服装后的高温环境下人体热安全实验。
| [1] |
|
| [2] |
|
| [3] |
|
| [4] |
|
| [5] |
|
| [6] |
|
| [7] |
|
| [8] |
|
| [9] |
|
| [10] |
|
| [11] |
|
| [12] |
|
| [13] |
|
| [14] |
|

