作者简介: 陶润(1984—), 男(汉), 山西, 博士研究生。
该文展示了一种可以测定径向受力滚动轴承稳态摩擦力矩的方法和测试设备,并用以测量某乘用车发动机前端附件传动系统中典型滚动轴承在不同径向力和转速下的摩擦力矩。基于最小二乘法应用多种函数对摩擦力矩与转速之间的关系进行拟合,依据相关系数和显著性水平选定了最优拟合函数,进而得到了摩擦力矩与转速、径向力之间的经验公式。与试验数据的对比显示,所拟合公式比Palmgren公式具有更高的精度。该测试方法可直接用于其他工程领域中的滚动轴承摩擦力矩的测试。拟合方法与拟合公式对滚动轴承摩擦力矩的表征具有参考意义。
A device is developed to measure the friction torque of rolling bearings subjected to radial loads while running at steady speeds. The friction torques are measured at various speeds and radial loads for typical rolling bearings used in an engine front end accessory belt drive of a passenger vehicle. The least squares method is used to fit the friction torque and the rotational speed with the optimal function chosen according to the correlation coefficient and significance level. A set of empirical formulae are then derived for the friction torque in terms of both the rotational speed and the radial load. The expressions are more accurate than the Palmgren formula. The test method can be applied to measure the friction torque of rolling bearings used in other fields as a valuable method to characterize the torque characteristics.
工程中有很多轴承受到径向载荷作用。图1给出了皮带传动中支撑带轮的滚动轴承的受力示意图。对于普通的家用轿车而言,发动机前端附件皮带传动系统中动态张力可在0~2 kN甚至更大范围内变化。轴承的摩擦力矩直接影响轴承的性能与能耗。准确获取并表达滚动轴承的摩擦力矩对于实现机械系统的节能环保具有重要的意义。
考察专利文献可知,已有设备或方法大部分只能用于测定空载或仅受轴向载荷的滚动轴承的摩擦力矩,少数方法可以承受20 N以下较小的径向载荷[1,2,3,4,5,6]。需要指出的是,以往专利对于轴承摩擦力矩测试条件不作细分。然而,轴向受载和径向受载轴承在摩擦力矩的测试方法和测试难度上显然是不同的。
近年来,随着研究手段的进步,人们从不同角度对轴承摩擦力矩进行了细分研究。柳剑等研制出了圆锥滚子轴承摩擦力矩测量仪,可对被测轴承施加轴向载荷[7]。邓四二等针对低摩擦力矩的角接触球轴承,分析了轴承零件工作表面的波纹度对轴承摩擦力矩波动性的影响[8]。刘静测量了风电变桨轴承的摩擦力矩,测量中对轴承施加了800 kN的轴向力[9]。高磊磊等用乏信息数学模型评价轴承振动的统计特征[10]。魏力等研制出了配对轴承摩擦力矩测量仪,可测量强振动、冲击下的低速运行轴承,测量仪可施加轴向和径向载荷[11]。陆静等推导了4点接触球转盘轴承的摩擦力矩计算公式,并分析了初始接触角、钢球直径、游隙等对摩擦力矩的影响[12]。李松生等基于热弹流润滑理论建立了高速微型球轴承摩擦力矩的分析模型[13]。
相对数值较大的径向力,摩擦力矩通常很小。因此,如何准确测定承受径向载荷的滚动轴承的摩擦力矩,是一个需要解决的问题。现有的专利和文献对于轴承摩擦力矩的试验测量多数只针对施加轴向载荷的工况。文[11]虽对被测轴承施加径向载荷,但轴承转速只控制在30 r/min以下。为此,本文首先阐述了一种受径向力作用的滚动轴承的摩擦力矩测试方法和测试设备,并用以测定某乘用车发动机前端附件皮带传动系统中各轴承在稳态工况下的摩擦力矩。基于测试数据对力矩与转速的关系进行拟合,进而通过假设检验相关系数的显著性水平选择了拟合函数。在此基础上引入载荷因素,得到了轴承稳态摩擦力矩与转速、载荷间的经验公式。最后,通过与Palmgren公式的对比,分析了拟合公式的适用性。
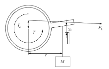
针对径向力作用下滚动轴承摩擦力矩的测定,本文作者和合作者研发了受径向力的滚动轴承摩擦力矩的测试方法和设备。测试装置主要包括测量、传动和加载3个模块,在保证便于调整轴承转速和载荷的前提下,实现了加载与测量过程的分离,其大致构成如图2所示。
由图2可见,待测滚动轴承镶嵌在一个带轮中,本文认为带轮变形可忽略不计。带轮被卡箍紧固,卡箍与钢丝绳相连,钢丝绳则连接到加载圆盘上。下面结合图3介绍测试的基本原理。
当设备在静止状态时,在重力作用下钢丝绳的延长线穿过轴承中心(图3a)。当轴承以特定速度旋转时,由于摩擦力矩的作用,卡箍会偏转一个角度(图3b)。应用非接触位移传感器测量卡箍外伸横臂的位移,即可求出该角度,进而依据力矩平衡得到摩擦力矩,
式(1)中: T为轴承摩擦力矩, FL为钢丝绳拉力, R为轴承中心与位移传感器的间距, L为钢丝绳的有效长度。变量 x0和 x1为卡箍外伸臂的初始与终了位置,由位移传感器测定。测定位置的非接触式传感器可以用电涡流传感器或激光位移传感器。
考虑到轴承内圈初始位置的不同可能导致 x0的数值发生变化,让电机以相同转速分别正转和反转,测量各自平衡位置 x1。当其他条件保持不变,
可认为轴承在正转和反转时的稳态摩擦力矩大小彼此相等。依据式(1)有:
式中: 下标a和c分别代表正转和反转。
显然,依据式(2)也可得到轴承摩擦力矩。然而,实际测试过程中可能存在多种干扰,比如钢丝绳与轴承纵截面存在平行度误差,旋转轴有偏心,以及钢丝绳的变形等。为尽可能消去上述干扰引起的误差,也为了便于测试,下面推导式(2)中定义的刚度系数的另一个表达式。基于干扰力矩的旋转刚度辨识系统如图4所示。
对于特定转速下已平衡的系统,在卡箍外伸臂适当位置施加砝码,测定外伸臂的位置 x2。对不同的质量 Mi, 可测得不同的位置参数
式(3)中: g为重力加速度, Δ M和Δ x分别为质量增量和外伸臂对应的位移。
为了验证式(3)的适用性,通过实验进行标定。图5给出了一组标定数据。显然,力矩增量和外伸臂位移呈线性关系。换言之,在稳态工况下,对于具体的轴承,刚度系数 k的确是一个常数。
图6显示了某款乘用车的发动机前端附件皮带传动系统。该系统中,皮带静张力约为358 N, 在加速过程中皮带动态张力可达1 773 N; 从动轮最高转速则从6 000 r/min至12 000 r/min不等。显然,系统中的滚动轴承承受变化范围很大的径向力和转速。
该皮带传动系统中所采用的轴承有多种型号,包括6203、 6303、 6202、 NACHI 35BGO、 NSK B23-9DU28A和NTN TMB303等。应用本文所介绍的测试原理和所开发的测试装置测定各型号轴承的摩擦力矩。测试过程中,对各轴承施加不同的径向载荷,最大径向载荷不超过2 000 N; 各轴承转速在其实际转速范围内取值,最高转速为5 500 ~12 000 r/min不等; 环境温度为室温。每种型号轴承取1至3个进行测试,每种条件下的测试结果不少于10组。典型测试结果如图7所示,包含对3个6203轴承,在5种载荷、 15种转速条件下测得的514组摩擦力矩。
从图7可以发现,对于同一型号轴承,即使径向力、转速完全相等,测得的摩擦力矩也不是一个恒定值,而是离散变化的。总体而言,摩擦力矩随径向力、转速的增加而增大。径向力增大,轴承摩擦力矩必然增大,该趋势符合经典摩擦理论; 转速增高时滑动速度随之增高,滑滚比增大,根据弹流摩擦理论,摩擦力矩也会升高。
为便于工程应用,运用最小二乘法对测试数据进行曲线拟合。所采用的拟合函数有幂函数、指数函数、对数函数,以及一次、二次直至五次多项式等。采用上述各常用函数分别拟合之后,根据相关系数选择与源数据相关性最好的几种函数,检验各函数与源数据之差的期望和方差是否处于同一显著性水平。其中,数学期望采用 t检验,方差采用 F检验。对于处于同一显著性水平的函数,则选择形式最简单的函数作为拟合函数。最后,对于特定型号的轴承,对不同径向载荷条件下的拟合函数进行分析、调整,引入载荷参数,以得到统一的经验公式。
以6203轴承为例。在1 500 N的径向载荷下,对3个该型号轴承不同转速的稳态摩擦力矩进行实测,得到该条件下测试结果117组,平均每种转速下重复次14次,如图8所示。可以看出,在同一测试条件下,轴承摩擦力矩具有明显的离散度。这主要是由轴承摩擦力矩的多因素性和随机性造成的: 多因素性是指轴承摩擦力矩的影响因素很多,相同条件实验其实不能保证所有因素完全相同,只能保证主要因素相同; 随机性是指轴承摩擦力矩本身就是在一定范围内随机变化的,不是恒定值。以转速为自变量,选用一元函数按照前述思路对实测数据进行拟合,结果如图8和表1所示。
| 表1 基于不同函数得到的6203轴承摩擦力矩计算式 |
图8为基于试验数据应用最小二乘法拟合得到的不同函数曲线。比如1号实线代表对数函数的拟合曲线,其具体表达式见表1。试验数据与拟合函数之间的相似程度用相关系数表示,见表1最后一列。由于实际摩擦力矩的离散性,而拟合函数是映射函数,运用最小二乘法只能使相对误差最小。应用上述所选各函数,相关系数目前只能达到0.77。如果运用一些复杂方法建立离散数据模型有可能达到更高的精度,得到更高的相关系数。但是,运用复杂方法在提高精度的同时会降低实用性,因为涉及到大量的计算或复杂的表达模型,所以难以用于解决实际工程问题。用最小二乘法拟合简单函数是在数据处理的精确性和实用性之间取最优解,拟合得到的函数适用于同型号轴承在同等径向载荷下和不同转速条件下的摩擦力矩值计算。
表1显示,多项式与其他函数的相关系数 R2差别较大,而且多项式次数越高,相关系数数值越大,表达式形式越复杂。因此,优先选择多项式作为拟合函数,利用假设检验,分析一次多项式和五次多项式相对于试验数据的误差水平,并据此选择最优表达式。设多项式计算值与源数据之差的期望为 u, 方差为 σ2。对于 α=0 .1, 应用 F检验可知一次至五次多项式的方差
鉴于实测摩擦力矩数据较为离散,下面计算其标准差以考察其离散度。6203轴承在各种测量条件下摩擦力矩的标准差 σ如表2所示。
| 表2 6203轴承摩擦力矩的标准差 σ |
表2中数据表明,当轴承的运行条件变化时,其摩擦力矩的离散度也会随之变化,总体规律是随载荷和转速的增大而增大,但并非全然如此。6203轴承的标准差大部分在10 N·mm以下,最大不超过18 N·mm。由此可计算出摩擦力矩 T的置信区间,以表明摩擦力矩的波动范围。经总体计算得, [ T-45%· T, T+45%· T]为 T的置信水平为1 .0的置信区间, [ T-18%· T, T+18%· T]为 T的置信水平为0 .9的置信区间。
6203轴承在不同载荷下的曲线拟合结果如图9a所示。分析拟合函数可知,在不同载荷条件下摩擦力矩与转速均呈线性关系,即 T=k· n+a, 且各个关系式中系数 k的数值彼此相近; 常数项 a与载荷 F也呈现线性关系,见图9b。
将载荷参数 F引入到拟合公式中,即可得到不同载荷作用下轴承摩擦力矩的统一计算式。对6203轴承,整理得到的摩擦力矩表达式为
将每个测试值与拟合值之差的绝对值与测试值相除,得到单个相对误差的绝对值; 计算所有相对误差绝对值的平均值,可得出相对误差的绝对值均值 τ=
6203轴承结构参数为: 节圆直径 dm =28 .5 mm; 运动粘度υ=20 mm2/s; f0 =1 .7; f1 = 0 .000 4。应用Palmgren公式计算得到的摩擦力矩及其与试验数据的相对误差如表3所示。
| 表3 6203轴承摩擦力矩(Palmgren公式计算)及其误差 |
综合表3所示结果,Palmgren公式计算结果与实测结果的相对误差绝对值的总体平均值为 66.6%。而用式(4)所示的拟合公式,相对误差绝对值的总体平均值仅13.27%。这说明本文拟合公式更适合大径向力下滚动轴承摩擦力矩的计算。
显然,本文测试方法和拟合方法可用于任何滚动轴承。换言之,在其他工程应用中,可根据需要测试和拟合对象轴承摩擦力矩的经验公式。
针对径向力作用下滚动轴承摩擦力矩的测试与表征问题,本文介绍了一种测试方法与设备,据此测定了某型乘用车发动机前端附件皮带传动系统中全部轴承在不同转速、不同径向载荷条件下的摩擦力矩。本文提出了一种曲线拟合过程,得到了反映转速与载荷作用的轴承摩擦力矩的经验公式。与Palmgren公式进行的对比表明,本文所得到的公式具有更高的准确性。
需要指出的是,为了便于工程应用,也因为系初步尝试,本文所介绍的数据拟合,是用一一对应的映射函数表达重复试验中非一一对应的离散数据。这样的处理方法因自身的缺陷导致相关性系数难以大幅提高。因此,建立更适合表达离散数据的滚动轴承摩擦力矩的数学模型,是下一步的研究目标。
| [1] |
|
| [2] |
|
| [3] |
|
| [4] |
|
| [5] |
|
| [6] |
|
| [7] |
|
| [8] |
|
| [9] |
|
| [10] |
|
| [11] |
|
| [12] |
|
| [13] |
|

